Disney Patenkan Kue Augmented Reality
Tak hanya Google, Samsung, Apple atau vendor-vendor IT yang mengajukan hak paten pada produk teknologi mereka. Perusahaan yang dikenal dengan produksi film dan acara TV, Disney, pun baru saja mengajukan paten pada produknya yang terbilang unik, teknologi augmented reality yang dibenamkan di kue.

Ini memang menjadi terobosan baru yang unik karena teknologi augmented reality dihadirkan dalam bentuk makanan. Disney menjadi perusahaan pertama yang mengajukan ide tersebut untuk dipatenkan. Jika ini terwujud, tentunya nanti Anda bisa menikmati ulang tahun yang lebih berkesan dengan hadirnya kue ajaib berteknologi augmented rality.
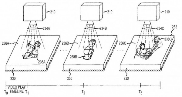
Menurut outline yang diajukan, kue yang dibekali teknologi augmented reality ini menggunakan semacam proyektor dan beberapa sensor gerak. Nantinya perangkat tersebut bisa mengubah sebuah kue ulang tahun dan makanan lain menjadi sebuah adegan seperti yang ada di buku-buku cerita terkemuka dan membawa dunia penuh fantasi yang interaktif.
Sebagian besar outline paten yang diajukan Disney tersebut nampaknya masih berupa konsep namun tetap menitikberatkan pada 2 metode yang digunakan untuk melakukan proyeksi image di atas kue. Metode yang paling sederhana yang diajukan dalam paten tersebut adalah menambahkan sebuah proyektor mungil di atas kue dimana proyektor tersebut bisa menyimpan dan menampilkan gambar di atas permukaan kue yang datar. Kemudian di atas permukaan kue tersebut ada montase dari gambar dan video yang akan ditampilkan di atas kue dan menjadikan kue tersebut seperti sebuah digital frame yang bisa dimakan. Outline tersebut menunjukkan saran untuk menambahkan sensor untuk mendeteksi gerakan sehingga bisa berinteraksi dengan proyektor. Dengan cara tersebut, seseorang bisa melakukan gerakan seperti membalik halaman buku secara virtual atau seperti mengayunkan tongkat sihir untuk memunculkan bunga dan debu peri bermunculan.

Untuk lebih melibatkan pengalaman augmented reality pada kue dan makanan yang akan digunakan, Disney juga mematenkan detail rencana menggunakan CPU yang dihubungkan dengan proyektor, dilengkapi dengan sensor kedalaman dan pendeteksi gerak. Hal ini akan membutuhkan perlengkapan lain namun dengan sensor tambahan berarti Anda bisa menambahkan elemen lain yang interaktif bahkan pada permukaan kue yang tidak datar. Anda bahkan bisa memetakan permukaan kue lengkap dengan pegunungan yang diliputi salju, air terjun yang berkabut, kuburan berkabut dan sebagainya. Siapa saja bisa memanipulasi tampilan di atas kue tersebut juga membuat adegan interaktif sendiri, misal dengan menaruh pohon di tanah dan kemudian melihatnya tumbuh menjadi hutan, dan sebagainya.
Tak hanya Google, Samsung, Apple atau vendor-vendor IT yang mengajukan hak paten pada produk mereka. Perusahaan yang dikenal dengan produksi film dan acara TV, Disney, pun baru saja mengajukan paten pada produknya yang terbilang unik, teknologi augmented reality yang dibenamkan di kue.
Ini memang menjadi terobosan baru yang unik karena teknologi augmented reality dihadirkan dalam bentuk makanan. Dan Disney menjadi perusahaan pertama yang mengajukan ide tersebut untuk dipatenkan. Jika ini terwujud, tentunya nanti Anda bisa menikmati ulang tahun yang lebih berkesan dengan hadirnya kue ajaib berteknologi augmented rality. Menurut outline yang diajukan, kue yang dibekali teknologi augmented reality ini menggunakan semacam proyektor dan beberapa sensor gerak yang nantinya bisa mengubah sebuah kue ulang tahun dan makanan lain menjadi sebuah adegan seperti yang ada di buku-buku cerita terkemuka dan membawa dunia penuh fantasi yang interaktif.
Sebagian besar outline paten yang diajukan Disney tersebut nampaknya masih berupa konsep namun tetap menitikberatkan pada 2 metode yang digunakan untuk melakukan proyeksi image di atas kue. Metode yang paling sederhana yang diajukan dalam paten tersebut adalah menambahkan sebuah proyektor mungil di atas kue dimana proyektor tersebut bisa menyimpan dan menampilkan gambar di atas permukaan kue yang datar. Kemudian di atas permukaan kue tersebut ada montase dari gambar dan video yang akan ditampilkan di atas kue dan menjadikan kue tersebut seperti sebuah digital frame yang bisa dimakan. Outline tersebut menunjukkan saran untuk menambahkan sensor untuk mendeteksi gerakan sehingga bisa berinteraksi dengan proyektor. Dengan cara tersebut, seseorang bisa melakukan gerakan seperti membalik halaman buku secara virtual atau seperti mengayunkan tongkat sihir untuk memunculkan bunga dan debu peri bermunculan.
Dan untuk lebih melibatkan pengalaman augmented reality pada kue dan makanan yang akan digunakan, Disney juga mematenkan detail rencana menggunakan CPU yang dihubungkan dengan proyektor, dilengkapi dengan sensor kedalaman dan pendeteksi gerak. Hal ini akan membutuhkan perlengkapan lain namun dengan sensor tambahan berarti Anda bisa menambahkan elemen lain yang interaktif bahkan pada permukaan kue yang tidak datar. Anda bahkan bisa memetakan permukaan kue lengkap dengan pegunungan yang diliputi salju, air terjun yang berkabut, kuburan berkabut dan sebagainya. Siapa saja bisa memanipulasi tampilan di atas kue tersebut juga membuat adegan interaktif sendiri, misal dengan menaruh pohon di tanah dan kemudian melihatnya tumbuh menjadi hutan, dan sebagainya.
















