Nikon Mempatenkan Digital Back Untuk Kamera Analog
Digital back untuk kamera medium format bukanlah suatu hal yang baru, tetapi apa yang terjadi ketika digital back hadir bagi kamera 35mm? Inilah yang coba diperkenalkan Nikon melalui paten terbarunya.

Digital back bukanlah sebuah inovasi baru. Dengan perangkat ini Anda dapat dengan mudah merubah perangkat photography analog menjadi digital tanpa harus mengganti kamera. Benda ini sudah cukup populer digunakan berpasangan dengan kamera medium format. Kamera-kamera seperti Hassleblad dan Mamiya mampu bersaing dengan kamera DSLR baru berkat hadirnya digital back.

Konsep digital back untuk kamera 35mm sebetulnya bukanlah sesuatu yang baru. Kodak pernah memperkenalkan Kodak DSC 100, yaitu body Nikon F3 yang dimodifikasi agar dapat menghasilkan gambar digital. Pada saat itu kamera ini bisa dikatakan revolusioner, tetapi sayangnya harga nya masih dianggap terlalu tinggi. Sebuah digital back untuk kamera 35 mm merupakan impian hampir semua photographer yang masih menyimpan kamera analog mereka.
Nikon sepertinya sadar bahwa masih banyak photographer analog yang mengidamkan solusi digital tanpa harus membeli kamera baru. Mereka pun berancang-ancang merambah pasar tersebut dengan mengajukan sebuah paten yang mengisyaratkan hadir digital back untuk kamera 35mm.

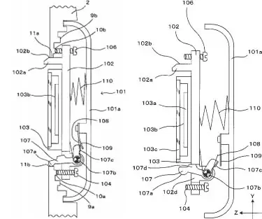
Paten No. 2012-242615 ini sebetulnya telah diajukan Nikon pada bulan Mei tahun 2011 tetapi baru dipublikasikan minggu lalu. Terlihat pada gambar diatas, design back cover yang akan merubahnya menjadi digital back.

Detil design dari paten tersebut menunjukkan bahwa digital back ini nantinya memerlukan pengaturan yang cukup presisi terutama berkaitan dengan jarak antara lensa dengan digital back.

Dengan hadirnya digital back bagi kamera 35mm maka bukan tak mungkin kamera seperti Nikon F3 diatas mampu bersaing dengan DSLR digital yang ada dipasaran. Penulis cuma bisa berharap jika produk ini telah keluar dipasaran, harga yang ditawarkan mudah-mudahan cukup bersahabat bagi pengguna. Jika berkaca dengan harga digital back yang hadir untuk medium format kemungkinan harapan diatas tercapai adalah sangat kecil.
Sumber : Petapixel















