Microsoft Patenkan Headset Gaming Multiplayer
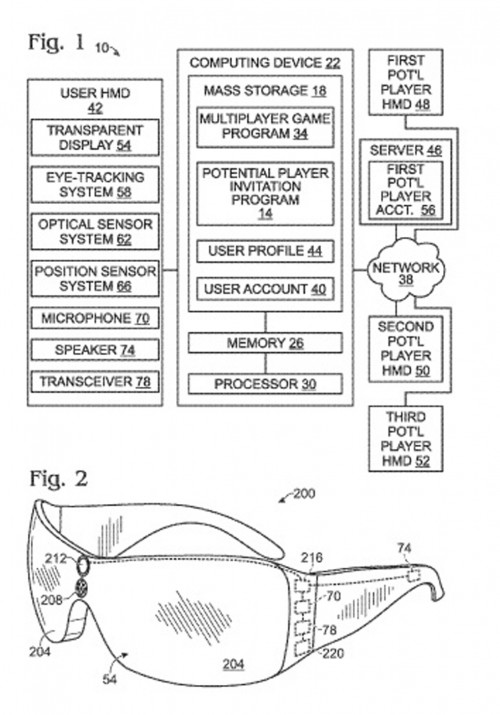
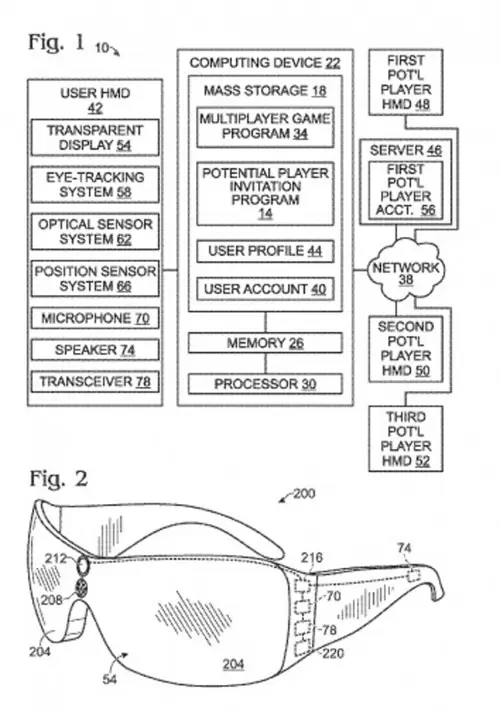
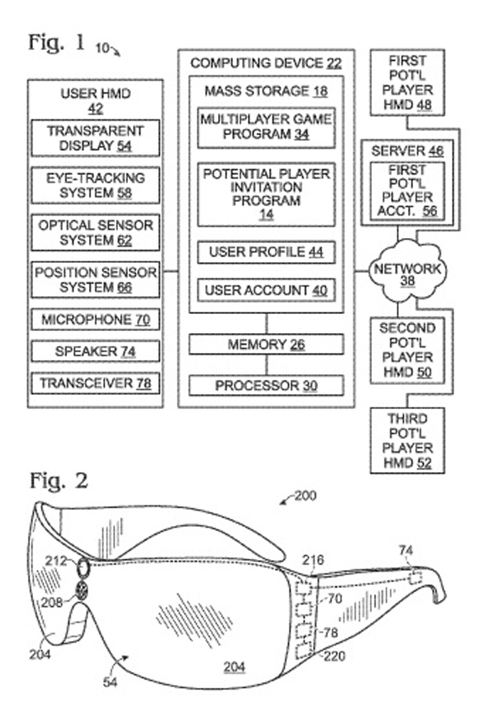
Raksasa software Microsoft dikabarkan tengah mengajukan aplikasi paten untuk sebuah piranti aksesoris berupa sebuah headset gaming multiplayer. Piranti ini seperti sebuah kacamata pintar dilengkapi dengan berbagai fitur menarik seperti interaksi suara, tracking mata, teknologi pengenalan wajah dan sejumlah sensor akselerometer dan giroskop untuk melacak pergerakan kepala penggunanya. Nampaknya augmented reality menjadi salah satu hal utama yang akan dibenamkan Microsoft di pirantinya ini.
Dari aplikasi paten yang diajukan tersebut, mungkin bisa dianggap bahwa piranti ini adalah perpanjangan dari platform Xbox yang tak hanya dilakukan Microsoft dalam sisi hardware saja, namun juga pada lokasi-lokasi baru. Gambar yang disertakan dalam lembar paten tersebut menunjukkan bahwa pengguna piranti tersebut akan bisa mengenakannya ke luar ruangan dan tak hanya berada di dalam ruangan bersisian dengan konsol Xbox.
Microsoft sendiri telah bermain-main dengan ide kacamata yang dilengkapi dengan augmented reality yang khusus diciptakan untuk Xbox sejak beberapa tahun terakhir dan akhirnya diungkap pada bulan Juni 2012 lalu dalam proyek yang disebut dengan Forteza, dimana kacamata tersebut akan bekerja menggunakan WiFi atau 4G. Microsoft akan menyediakan software dan spesifikasi, sedangkan untuk produksi dan penjualannya tersebut akan bekerja sama dengan pihak ketiga.
Menurut laporan GameSpot, aplikasi paten tersebut akan memfokuskan pada ucapan yang alami, sesuatu yang tidak serupa dengan yang tengah dikerjakan Microsoft pada Windows Phone dan Kinect. Aplikasi paten tersebut juga menunjukkan referensi pada multiplayer gaming. Inti dari headset itu sendiri tidak untuk menciptakan platform komputasi baru untuk Windows namun malah akan memungkinkan perluasan gaming yang hebat antara beberapa pihak, dilihat dari lokasi-lokasi yang ditampilkan dalam gambar tersebut. Yang paling menarik dari paten tersebut kenyataan bahwa jika pun Microsoft tidak tengah mengerjakan bidang teknologi wearable, Microsoft secara aktif atau paling tidak memang memikirkan tentang teknologi tersebut. Dalam hal arah hardware baru, membenamkan komputer dan sensor ke dalam tubuh menjadi sebuah bisnis yang nyata.
Aplikasi yang dipatenkan tersebut tidak menunjukkan adanya penempatan komputer yang dibenamkan dalam piranti yang akan dikenakan pengguna, dimana hal ini mengindikasikan bahwa di samping piranti tersebut akan memberikan interface konten gaming via koneksi ke sebuah server eksternal, mungkin sebuah unit Xbox One di rumah. Ini akan menjadi rival dari strategi Google Glass dan merupakan salah satu konektfitas wireless dengan paling banyak permintaan.
















