Apple Dapatkan Paten untuk Smartwatch ‘iTime’

Apple baru saja mendapatkan paten terbarunya untuk smartwatch lain. Dalam aplikasi paten yang diajukan ke Kantor Paten disebutkan tentang konsep piranti yang nampak seperti sebuah jam tangan dan disebut dengan nama ‘iTime’.
Apple sendiri belum juga meluncurkan smartwatch yang selama ini ditunggu-tunggu, iWatch. Namun sekarang muncul kembali paten baru yang diajukan Apple terkait dengan wearable device yang kemungkinan juga akan berupa smartwatch. Namun paten yang didaftar atas nama Albert Golko, Mathias Schmidt dan Felix Alvares sebagai karyawan Apple ini sebenarnya sudah didaftarkan sejak bulan Juli 2011 sehingga kemungkinan besar ini merupakan konsep awal sebelum iWatch.
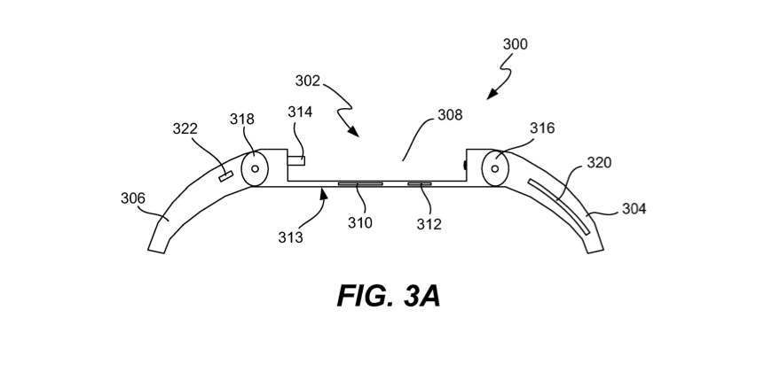
Konsep jam yang diajukan tersebut nampak seperti jam tangan biasa, dibanding jam tangan pintar iWatch. Jam tangan ini dilengkapi dengan bagian tengah yang bisa dipisah dan dioperasikan secara terpisah dari gelangnya. Unit utama tersebut bisa menyimpan dan memutar media dan dikendalikan dengan input sentuhan di bagian depan. Jam tangan tersebut juga bisa merespon gestur dan memberi notifikasi.




Dalam keterangannya, Apple menyebut bahwa gelang elektronik ini bisa dikenakan di lengan pengguna dan memiliki bagian-bagian seperti bagian tengah yang merupakan area luas untuk menerima dan secara elektrik terhubung dengan piranti mobile elektronik, piranti mobile elektronik termasuk display dan bisa dilepas serta digunakan secara terpisah dari gelang elektronik untuk menghadirkan fungsi pengaturan pertama. Apple menyatakan paling tidak bagian dari gelang akan berisi transceiver komunikasi wireless dan saat dihubungkan ke piranti utama, piranti bisa menghadirkan ‘fungsi pengaturan kedua’ termasuk di dalamnya mengirimkan input pengguna ke ‘piranti elektronik kedua’.
Menurut paten tersebut, gelang jam dibagi menjadi paling tidak dua bagian dimana masing-masing bagian memiliki antena wireless. Bagian dari gelang juga memiliki paling tidak satu akselerometer, sebuah antena dan GPS receiver atau piranti haptic. Piranti haptic tersebut diletakkan di bagian yang bersentuhan dengan kulit di bagian bawah gelang sehingga akan memberikan notifikasi buzz ke pengguna saat ada pesan atau pengingat lainnya yang masuk. Sedangkan akselerometer dan giroskop juga dibenamkan ke jam tangan ini untuk mendeteksi pergerakan dan gestur lengan pengguna. Dalam aplikasi ini disebutkan bahwa iTime akan bisa dihubungkan dengan iPhone, iPad dan iPod serta bisa menghadirkan informasi saat ada telepon masuk ke iPhone. Pengguna bisa menggunakan jam tersebut untuk menerima atau menolak panggilan telepon yang masuk tersebut.















