Apple Ajukan Paten Untuk Keyboard Anti Remah Makanan
Apakah musuh terbesar untuk sebuah keyboard? Remah-remah makanan? Debu? Atau tumpahan minuman? Atau semuanya? Pengguna komputer, terutama yang sering makan dan minum pada saat bekerja, sadar betapa berbahaya barang-barang di atas apabila tumpah ke atas keyboard. Apabila terjadi kemungkinan keyboardnya yang rusak atau bahkan bila terjadi pada notebook bisa merusak seluruh sistem.
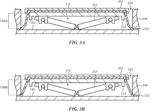
Bagi pengguna Apple yang khawatir akan mengalami musibah seperti di atas tanpanya tidak akan cemas lagi. Perusahaan yang bermarkas di Cupertino ini telah mengajukan paten untuk rancangan keyboard yang meliputi “substrat, key cap dan struktur pelindung yang membentang dari key cap dan menyalurkan kotoran kearah berlawanan dari mekanisme keyboard”. Paten ini juga menyebutkan mengenai mekanisme yang akan mencegah masuknya kotoran seperti debu atau cairan ke dalam keyboard.

Dalam patent yang diajukan, terdapat dua cara mencegah kotoran masuk. Cara pertama adalah dengan menutup sela-sela keyboard atau dengan menempatkan membran di bawah masing-masing keyboard yang akan menghembuskan angin keluar setiap kali keyboard ditekan, dan mengeluarkan kotoran yang ada. Seperti halnya rata-rata patent, design tersebut bukan merupakan design terakhir yang akan diimplementasikan. Walaupun paten ini belum tentu diimplementasikan kedalam produk nyata, keberadaan patent ini memberikan signal positif bahwa Apple sadar bahwa problem ini memang ada dan kemungkinan akan menemukan solusi itu masalah ini.













