AMD Tingkatkan Jumlah Pin di Socket AM6
AMD dikabarkan tengah menyiapkan soket AM6 dengan peningkatan jumlah pin hingga 22% dibanding pendahulunya, AM5. Meski begitu, ukuran fisiknya diperkirakan tetap serupa sehingga masih mendukung pendingin prosesor yang sudah ada.
Menurut laporan Bits and Chips, soket AM6 akan memiliki 2.100 pin, naik signifikan dari 1.718 pin di AM5. Peningkatan ini disebut untuk mendukung standar teknologi terbaru seperti PCIe 6.0 dan memori DDR6.
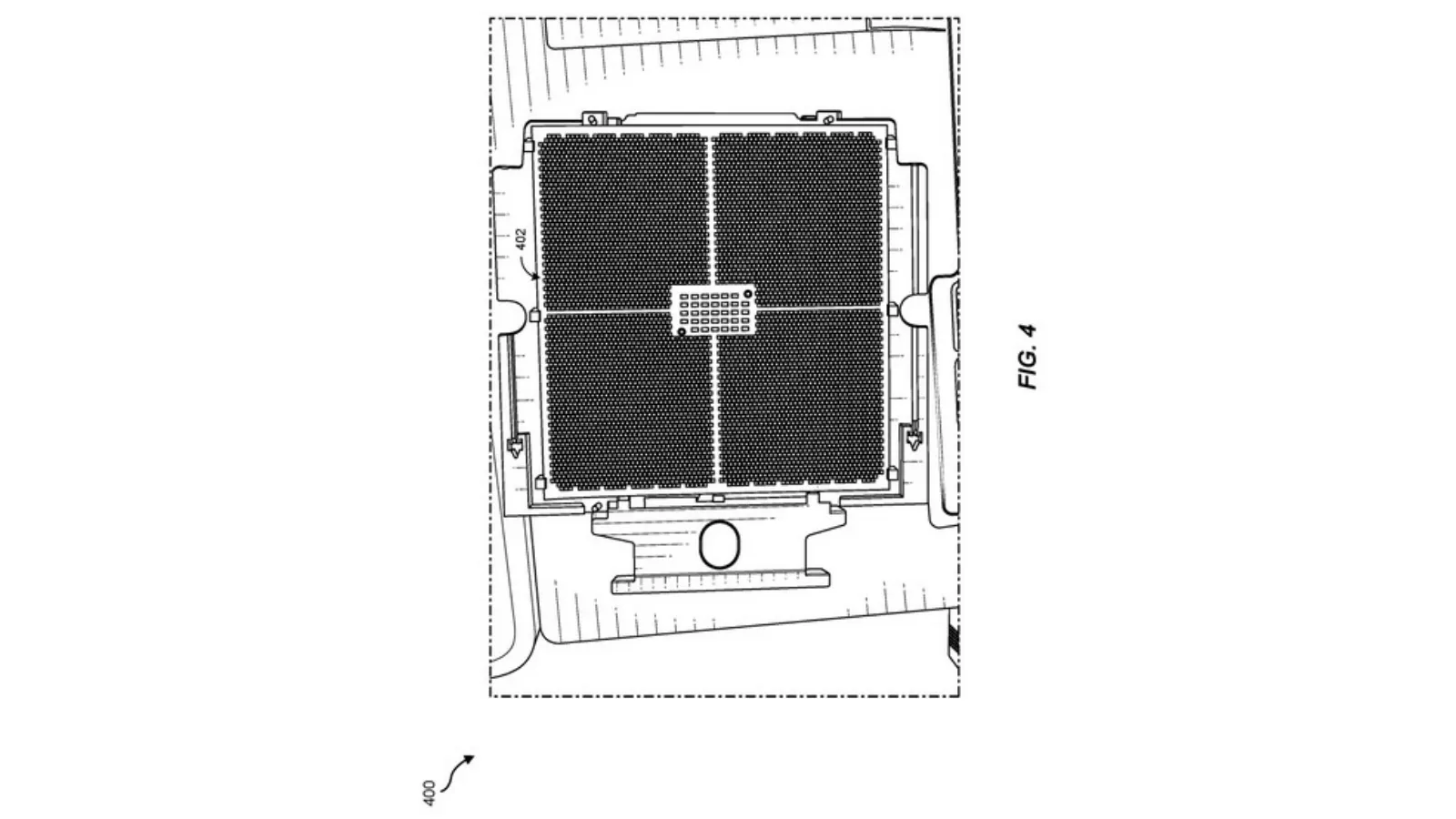
Sebuah paten dari AMD menunjukkan susunan pin yang lebih rapat dengan desain berbeda dari AM5, meski tetap dalam ukuran yang sama. Hal ini memungkinkan AMD menambah pin tanpa harus memperbesar ukuran soket.
Menariknya, soket AM6 ini akan menjadi rumah bagi arsitektur Zen 7, generasi terbaru dari lini prosesor AMD. Zen 7 disebut-sebut membawa peningkatan besar dibanding Zen 6, termasuk dukungan jumlah core yang lebih banyak.
Salah satu bocoran menyebutkan bahwa prosesor Zen 7 bisa memiliki hingga 32 core berkat penggunaan dua CCD berisi 16 core. Jika fitur Hyperthreading aktif, total thread bisa mencapai 64.
Selain itu, CPU Zen 7 ini juga diprediksi dibekali teknologi V-Cache dalam jumlah besar untuk meningkatkan performa. Kombinasi semua hal ini digadang-gadang bakal membuat Zen 7 sebagai lompatan besar dalam dunia prosesor desktop.
Baca Juga: Axioo Pongo 775 Dipakai Jajal Game Lokal Troublemaker 2 • Jagat Review
Namun, hal itu belum akan hadir dalam waktu dekat. AM6 sendiri diperkirakan baru akan dirilis secara komersial pada 2028,bersamaan dengan prosesor Zen 7. Kira-kira, apakah kalian siap menunggu sampai 2028 untuk upgrade ke platform AM6 ini?
















