Huawei Kembangkan Kacamata AR/VR dengan Cincin Pintar
Huawei dikabarkan tengah mengembangkan kacamata AR/VR terbaru mereka. Kabar ini terungkap lewat dokumen paten yang mereka ajukan ke China’s National Intellectual Property Administration (CNIPA). Berdasarkan dokumen tersebut, perusahaan tampak sedang menyiapkan konsep perangkat augmented reality dengan sistem kontrol yang cukup unik.
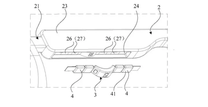
Desain Kacamata AR Huawei
Dalam paten bernomor CN120871434A, perusahaan menjelaskan rancangan kacamata yang dilengkapi sebuah tali kepala (strap) yang dapat dilepas. Menariknya, tali tersebut memiliki fungsi ganda sebagai cincin pintar (smart ring) yang bisa kita gunakan secara terpisah. Dari desain ini terlihat kalau perusahaan berniat manghadirkan pengalaman interaksi yang lebih fleksibel dan efisien bagi penggunanya.
Saat dilepas dari kacamata, cincin ini bisa kita gunakan sebagai pengontrol utama kacamata dengan dukungan gesture recognition, penunjuk (pointing), dan navigasi. Nantinya, kita bisa menggerakkan tangan atau jari untuk mengontrol berbagai elemen virtual, seperti bermain game AR atau bekerja di ruang kerja berbasis virtual. Sistem kontrol ini memungkinkan pengguna berinteraksi dengan cara yang terasa lebih alami dan presisi dibanding metode tradisional.
Baca Juga: Lexar Luncurkan SSD Portabel Super Tipis Cuma 6 mm!
Namun, ketika cincin pintar tersebut kita pasang kembali ke bingkai kacamata, perangkat ini akan otomatis beralih ke mode interaksi pasif. Di mode ini, kita bisa melakukan ketukan (taps) atau gesekan (swipes) di bagian bingkai untuk menavigasi menu atau mengontrol media. Huawei juga menggunakan desain magnetik dan sistem modular agar transisi antar mode terasa cepat, aman, dan intuitif.
Selain itu, Huawei juga hadirkan fitur pengisian daya otomatis untuk cincin ketika dipasangkan kembali ke kacamata, jadi kita tidak perlu melakukan pengisian manual dengan kabel. Meskipun masih berupa paten, teknologi ini menegaskan ambisi mereka untuk bersaing dalam pengembangan perangkat AR/VR. Kalau nanti benar-benar dirilis, menurut kalian apakah perangkat ini bisa bersaing dengan kacamata AR yang sudah ada di pasaran?


















