Apple Patenkan Smart Pen dan iPhone dengan Display Melengkung
Apple memang tak pernah berhenti berinovasi. Belum lama ini sebuah paten terlihat didaftarkan atas nama perusahaan peninggalan Steve Jobs tersebut. Meskipun sedikit unik, namun produk yang dipatenkan Apple tersebut nampaknya akan menjadi sesuatu yang menarik dan layak ditunggu. Apple mengajukan 2 buah diagram konsep yang dipatenkan untuk sebuah produk pena pintar dan sebuah diagram yang nampaknya akan menjadi iPhone namun dengan display melengkung.

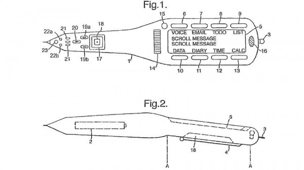
Paten yang disebut sebagai smart pen terlihat seperti menggabungkan fungsi iPod dengan sebuah pena. Piranti tersebut didesain dengan bantuan digital secara penuh, dibekali dengan LCD display yang bisa menampilkan catatan, email, dan pesan, serta melacak gerakan pena dengan akselerometer sensor. Ide ini sebenarnya bukan hal yang orisinil karena sudah ada produk serupa yang diproduksi. Meski begitu Apple mengklaim bahwa pena miliknya tersebut akan lebih fungsional dan serbaguna, meskipun bentuknya terlihat tidak terlalu menarik. Akhir-akhir ini Apple memang terlihat bertekad untuk menjejalkan kemampuan komputer dalam segala piranti, dari display adapter, jam tangan, dan kini dalam sebuah pena.
Dalam berita lain yang dilansir dari situs Mashable, smart pen yang diajukan Apple tersebut sebenarnya bukan ciptaan dari Apple, melainkan dibeli dari seorang penemu asal Inggris bernama Lyndsay Williams pada tahun 1997 dan nama asli produk tersebut adalah SmartQuill. Nampaknya Apple memang bukan mau menciptakan kembali pena pintar tersebut, namun lebih pada melindungi properti intelektual smartphone dengan mengajukan kembali penemuan sebelumnya. Tidak dijelaskan alasan Apple mengajukan kembali paten yang sudah diajukan pada tahun 2005 tersebut dan Williams pun tidak mau memberikan komentar karena alasan kerahasian. Mungkin saat Apple tengah mempersiapkan iWatch, maka akan terdengar menarik juga jika mereka juga memiliki pena pintar yang disebut dengan iPen.
Diagram konsep kedua yang diajukan juga semakin menarik karena Apple mengajukan konsep smartphone yang memiliki display melengkung. Apple sendiri sudah mengumumkan konsep tersebut sebagai iPhone masa depan yang akan menggunakan display yang sedikit aneh karena bentuknya melengkung namun tetap dilengkapi dengan homescreen khas iOS yang akan berputar di sekeliling piranti dan akan berubah sesuai orientasi yang digunakan. Mungkin dengan desain baru ini akan terlihat lebih 3D-friendly dan memberikan pengalaman digital yang realistis dengan bantuan kedalaman persepsi, namun juga tidak mengubah tampilan yang terlihat lebih rapuh dibandingkan iPhone yang sudah ada.

Konsep yang dipatenkan biasanya tidak akan sama dengan hasil akhir dari produknya, karena konsep biasanya lebih untuk menimbulkan kesan kejutan dan kekaguman dibanding menjadi demonstrasi dari produk yang akan datang. Ide Apple dalam paten barunya ini memang cukup mengejutkan, namun juga tidak begitu meyakinkan bagian yang menakjubkan dari konsep-konsep tersebut.















