Microsoft Mulai Kembangkan HoloLens 3 dengan Konsep Modular
Microsoft diketahui telah mengajukan paten baru untuk sebuah perangkat mixed reality dengan konsep modular. Perangkat tersebut diduga merupakan HoloLens 3 yang tengah dikembangkan oleh Microsoft sebagai penerus dari HoloLens 2 yang sudah dirilis sejak empat tahun lalu pada 2019 silam.
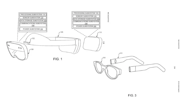
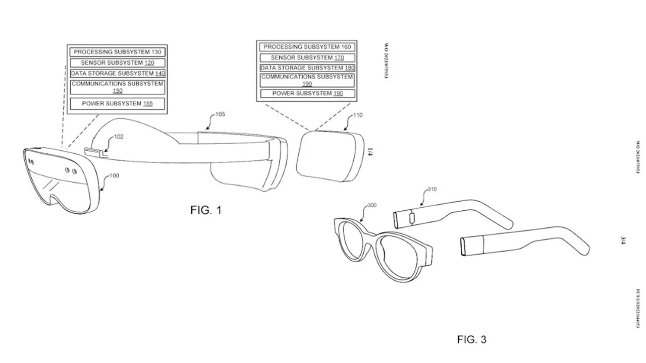
Berdasarkan paten yang diajukan Microsoft, HoleLens 3 nantinya akan punya sistem modular di mana pengguna dapat melepas atau memasang modul yang berbeda sesuai dengan kebutuhan. Ini membuat perangkat tersebut jadi jauh lebih fungsional dari generasi sebelumnya yang hanya bisa dikustom oleh Microsoft sendiri.
Modul yang bisa dipasangkan pun beragam. Microsoft menyebut modul itu bisa jadi sebuah headband, VR headset, helm, dan lain sebagainya. Bahkan, modul tersebut juga dapat dimanfaatkan untuk meningkatkan kemampuan komputasi dengan menambahkan prosesor, penyimpanan, baterai, serta sensor dan juga display.
Pada generasi sebelumnya HoloLens 2 yang tersedia untuk publik hanya berbentuk seperti kacamata VR/AR pada umumnya. Namun, Microsoft diketahui bekerja sama dengan militer AS untuk membuat HoloLens 2 bagi para tentara dan perangkat tersebut terlihat dipasangkan pada sebuah helm.
Sepertinya kasus itulah yang menjadi inspirasi Microsoft dalam mengembangkan HoloLens 3 agar bisa digunakan sesuai kebutuhan untuk berbagai industri, termasuk militer. Kendati demikian, kita masih belum tahu sudah sejauh apa perkembangan HoloLens 3, terlebih sempat ada rumor Microsoft sudah menghentikan HoloLens.
HoloLens sendiri merupakan sebuah perangkat Mixed Reality yang akan menggabungkan dunia nyata dengan dunia virtual. Jika kalian masih ingat, Apple Vision Pro yang baru-baru ini diluncurkan oleh Apple juga merupakan perangkat Mixed Reality.

















